Магазин запчастей для бытовой техники - Arlos
Москва
close
Выберите ваш регион
АбаканАлександровАльметьевскАнгарскАрзамасАрмавирАртемАрхангельскАстраханьАчинскБалаковоБалашихаБеларусьБелгородБердскБерезникиБийскБлаговещенскБратскБрянскВеликий НовгородВидноеВладивостокВладикавказВладимирВолгоградВолгодонскВолжскийВологдаВолховВоркутаВоронежВоскресенскВыборгГатчинаГеленджикГрозныйДедовскДербентДзержинскДзержинскийДимитровградДмитровДолгопрудныйДомодедовоДонецкЕвпаторияЕгорьевскЕкатеринбургЕлецЕссентукиЖелезногорскЖелезнодорожныйЖуковскийЗеленоградЗлатоустИвановоИвантеевкаИжевскИркутскИстраЙошкар-ОлаКазаньКалининградКалугаКаменск-УральскийКамышинКаспийскКемеровоКерчьКировКисловодскКлинКовровКоломнаКомсомольск-на-АмуреКопейскКоролёвКостромаКотельникиКрасногорскКраснодарКраснознаменскКрасноярскКурганКурскКызылЛенинск-КузнецкийЛипецкЛобняЛыткариноЛюберцыМагнитогорскМайкопМалаховкаМахачкалаМиассМоскваМурманскМуромМытищиНабережные ЧелныНазраньНальчикНаро-ФоминскНахабиноНаходкаНевинномысскНефтекамскНефтеюганскНижневартовскНижнекамскНижний НовгородНижний ТагилНовокузнецкНовокуйбышевскНовомосковскНовороссийскНовосибирскНовоуральскНовочебоксарскНовочеркасскНовошахтинскНовый УренгойНогинскНорильскНоябрьскОбнинскОдинцовоОктябрьскийОмскОрелОренбургОрехово-ЗуевоОрскПавловский ПосадПензаПервоуральскПермьПетрозаводскПетропавловск-КамчатскийПодольскПрокопьевскПсковПушкиноПятигорскРаменскоеРеутовРостов-на-ДонуРубцовскРыбинскРязаньСакиСалаватСамараСанкт-ПетербургСаранскСаратовСевастопольСеверодвинскСеверскСергиев ПосадСерпуховСимферопольСмоленскСосновый БорСочиСтавропольСтарый ОсколСтерлитамакСтупиноСургутСызраньСыктывкарТаганрогТамбовТверьТихвинТольяттиТомилиноТомскТроицкТулаТюменьУлан-УдэУльяновскУссурийскУсть-ИлимскУфаУхтаФеодосияФрязиноХабаровскХанты-МансийскХасавюртХимкиЧебоксарыЧелябинскЧереповецЧеркесскЧеховЧитаШахтыЩелковоЭлектростальЭлистаЭнгельсЮжно-СахалинскЯкутскЯлтаЯрославль
  • - бесплатно по РФ
    Автоперезвон. Работает по принципу: Вы позвонили на номер, мы сбрасываем звонок и перезваниваем через 3 секунды.
  • - по Москве
  • 8 (925) 663-83-63

Call-центр

пн-вс: 10:00-19:00

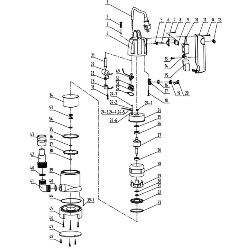
Насос дренажный НПГ-Т7-400

Данная модель имеет несколько схем

NАртикулНазваниеСрок отгрузкиЦенаКупить
T21 U009-620-1RS Подшипник шариковый (32х12х10) U009-620-1RS для ЗЦПБ-370, ЗЭП-600Н, НПГ-М3-1100-С 189 р.
1 U099-004-009-10 Шнур сетевой Rubber 3x0.75мм 10м 480 р.
2 UM06-001-004 Кольцо стопорное D11 разжимное UM06-001-004 для ЗДА-9.6-К, ЗНАС-1000 46 р.
3 UM04-900-001 Шайба D5 92 р.
4 N000-005-412 Корпус электродвигателя 561 р.
5 N000-005-413 Рычаг
6 N000-005-414 Кожух рычага
7 N000-005-415 Уплотнитель рычага
8 UM02-900-015 Саморез 4.5х21 PH2
9 N000-005-416 Скоба
10 N000-005-417 Поплавок большой
11 N000-005-418 Кожух поплавка 372 р.
12 N000-005-419 Переключатель режимов
14 N000-005-420 Рычаг
15 N000-005-421 Поплавок маленький
16 N000-025-787 Сальник D24xd12xh4.5 N000-025-787 для насосов НПБ-300, НПГ-Т3-900, НПГ-Т3-1100-С 189 р.
16 V000-003-373 Микровыключатель 16(6)A 250В 144 р.
17 N000-005-422 Кронштейн выключателя
18 UM02-000-039 Саморез 4x34 PH2 #F 92 р.
19 N000-005-423 Корпус выключателя
20 N000-005-424 Изолятор
21 U452-400-007 Воротник шнура #F 189 р.
22 V000-000-036 Конденсатор 4мФ 450В CBB60
23 U452-400-008 Шайба прижима пласт. 94 р.
24 N000-000-613 Крышка двигателя верхняя
24.1 N000-000-614 Уплотнитель провода
24.2 UM04-003-001 Шайба стопорная D4 92 р.
24.3 N000-000-616 Провод заземления
24.4 N000-000-617 Клемма обжимная
24.5 N000-000-618 Трубка термоусадочная
24.6 UM04-001-002 Шайба-гровер D4 92 р.
24.7 UM01-000-012 Винт M4x10 92 р.
25 U365-150-038 Кольцо пружинное D31 92 р.
27 N000-025-997 Ротор
28 N000-010-058 Статор
28.C V000-001-038 Двигатель переменного тока однофазный 400Вт 3.496 р.
29 N000-005-425 Корпус насоса
30 N000-000-626 Прокладка
32 N000-000-628 Щит двигателя
33 N000-000-629 Кольцо уплотнительное
34 N000-000-630 Крышка двигателя нижняя
35 U452-400-014 Уплотнение электродвигателя D92x5 286 р.
36 N000-000-634 Прокладка регулировочная
36 N000-000-635 Прокладка регулировочная
37 N000-025-999 Крыльчатка насоса 232 р.
38 UM05-001-003 Гайка M8 (автогровер) 92 р.
39 N000-010-451 Корпус насоса, верхняя часть
39.1 N000-010-109 Шарик стальной D6
40 N000-010-453 Кольцо уплотнительное
41 U452-400-020 Патрубок D48x72x72 189 р.
42 U452-400-021 Штуцер выходной D54x100 92 р.
43 N000-010-121 Гайка переходная
44 U452-400-025 Кольцо уплотнительное D126х3 189 р.
45 N000-005-426-2 Основание
47 N000-005-427-2 Планка нижняя
49 N000-000-752 Колодка клеммная
50 N000-000-643 Разъем
50 N000-000-644 Разъем
51 N000-000-645 Зажим
52 N000-000-646 Хомут
53 N000-000-647 Сальник D12
Найдено товаров: 61
1
▲ Наверх
0
8 (925) 663-83-63

Call-центр

пн-вс: 10:00-19:00

НАЙТИ ПО МОДЕЛИ
Введите номер заказа
Введите номер своего заказа, что бы узнать его текущий статус.
Что бы получить доступ к расширенным функциям, пройдите не сложную регистрацию. Зарегистрироваться